SWIVEL EYE BOLT SNAP - BRONZE (SEA-DOG LINE)

Listing image Listing image
Specifications

Category Name Hardware-snaps & Hooks Stock Number 354-1360121 Sale Type New
Manufacturer Sea-Dog Line UPC 35514136044 Hazard 9
LNSuse1 63780 LNSuse2 89351 LNSuse3 21793
ModuleID PF_52130 DMPPartNo 41-1812 KMSPartNo SDG 1360121
AS400Description BRONZE SWIVEL EYE BOLT SNAP VendorItemNumber 136012-1 WebLongDescription

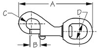
Swivel eye bolt snaps are designed for use with rope, wire or cable. Constructed of corrosion resistant die cast manganese bronze, they can be used for tie-downs, lifting wires or in other rigging applications. 360° swivel strap eye eliminates tangling. Spring-loaded bolts provide secure closure with the advantage of an easy-open thumb lever.

WebShortDescription

Sea-Dog 1360121 Swivel Eye Bolt Snap - Bronze, 2-11/16", Carded

Price Contact for price CAD  
Description
For use with rope, wire or cable. Constructed of corrosion resistant die cast manganese bronze, they can be used for tie-downs, lifting wires or in other rigging applications. 360° swivel strap eye eliminates tangling. Spring-loaded bolts provide secure closure with the advantage of an easy-open thumb lever.